ПС 20.148.16

Чертеж изделия:
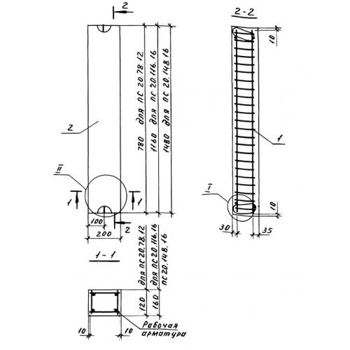
Характеристики изделия:
ПараметрЗначение
длина1480 мм
ширина200 мм
высота160 мм
вес119 кг
шифрВ 019

ПС 20.148.16 Плиты сплошные по Шифру В 019.