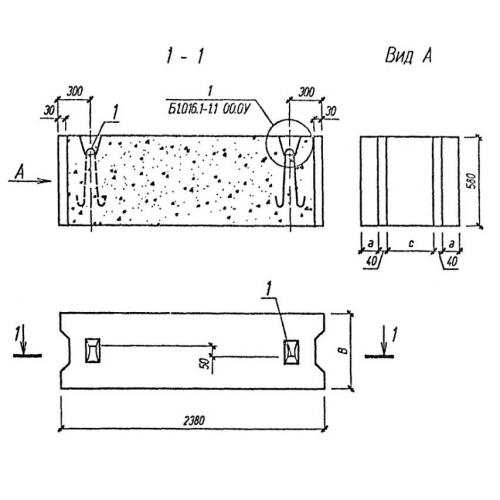
ФБС 24.5.6

Чертеж изделия:
Характеристики изделия:
ПараметрЗначение
длина2380 мм
ширина500 мм
высота580 мм
масса1630 кг
нормативный документСерия Б 1.016.1-1

ФБС 24.5.6  Фундаментные блоки сплошного сечения по Серии Б 1.016.1-1.