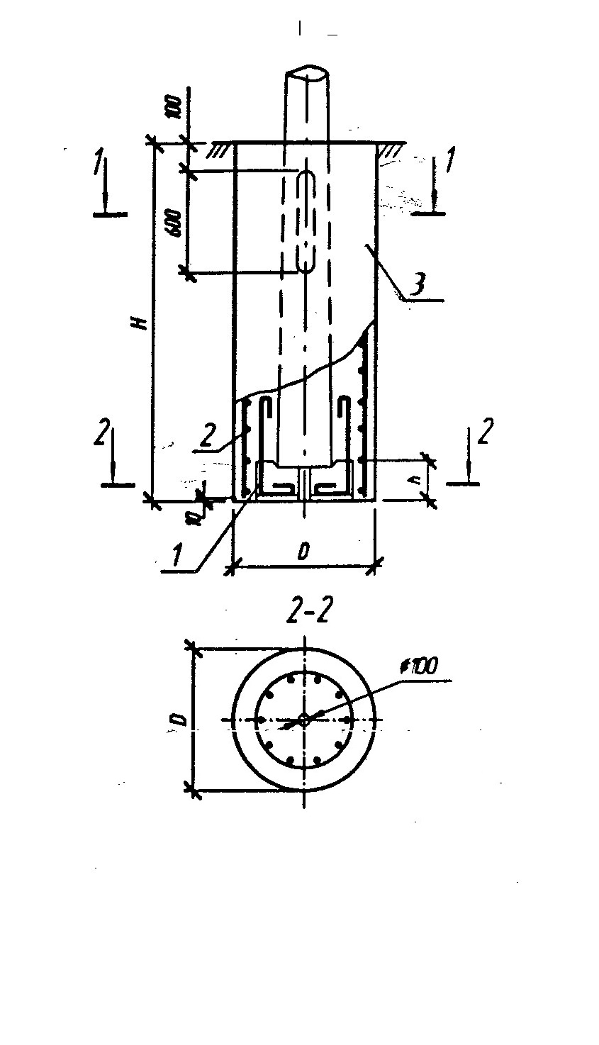
Ф 18
Характеристики изделия:
| Параметр | Значение |
|---|---|
| Высота Н | 2700 мм |
| Высота h | 250 мм |
| Диаметр D | 1400 мм |
| Вес | 9375 кг |
| Серия | Б3.507.1-3.04 |
| Норма погрузки на машину (20тн) | 2 шт |
| Вагонная норма погрузки | - |
Цена:
Рассчитать стоимостьФундамент Ф 18 изготавливается из тяжелого бетона и предназначен для установки стоек СКЦ согласно нормам серии Б3.507.1-3.04.
