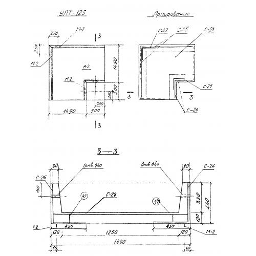
УЛТ 125

Чертеж изделия:
Характеристики изделия:
ПараметрЗначение
длина1990 мм
ширина1990 мм
высота440 мм
масса1500 кг
нормативный документСерия 3.903 КЛ-14

УЛТ 125   Угловые лотки теплофикационные по Серии 3.903 КЛ-14.