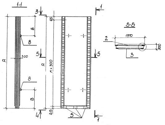
ПС 60.3-1ш

Чертеж изделия:
Характеристики изделия:
ПараметрЗначение
Длина1970 мм
Ширина300 мм
Высота5980 мм
Масса8380 кг
Нормативный документСерия 3.901.1-14

ПС 60.3-1ш   Панель стеновая доборная по Серии 3.901.1-14.

Маркировка

ПС - панель стеновая (доборная по высоте);

60 - длина стеновой панели в дм;

3 - толщина стеновой панели в дм;

1 - тип армирования;

ш - вариант со шпоночным стыком.