СТУ 16,5

Чертеж изделия:
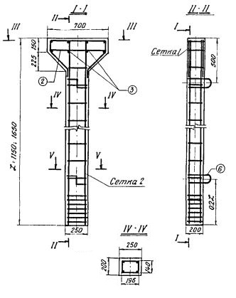
Характеристики изделия:
ПараметрЗначение
Длина1650 мм
Ширина700 мм
Высота250 мм
Масса265 кг
Нормативный документСерия 3.820-3

Стойки опор для лотков глубиной 1000 мм по Серии 3.820-3. Предназначены для мелиоративного строительства и могут быть использованы при сооружении сетей орошения, перебросных сооружений и быстротоков с расходом воды до 5 м³/с. 

СТУ 16,5   Стойка опоры усиленная высотой 1,65 м  под лоток длиной 8 м глубиной наполнения 1000 мм.