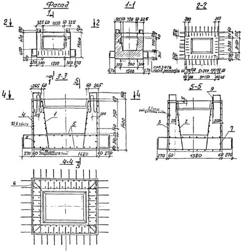
Чертеж изделия:
Характеристики изделия:
ПараметрЗначение
длина2340 мм
ширина2040 мм
высота1560 мм
вес7600 кг
серия3.501.1-150

2Ф Фундаментные стаканы по серии 3.501.1-150.