БПД 115

Чертеж изделия:
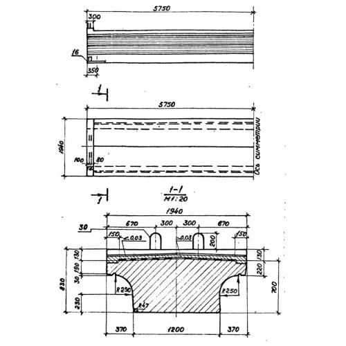
Характеристики изделия:
ПараметрЗначение
длина11500 мм
ширина1940 мм
высота830 мм
вес34200 кг
Серия3.501.1-146

БПД 115 Балки железобетонные плитные для двухпутного участка по Серии 3.501.1-146.