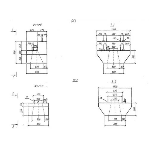
ОГ 2

Чертеж изделия:
Характеристики изделия:
ПараметрЗначение
длина1300 мм
ширина800 мм
высота500 мм
вес980 кг
серия3.501-180.95

ОГ 2 Оголовки по серии 3.501-180.95.