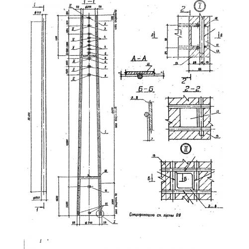
СК 22

Чертеж изделия:
Характеристики изделия:
ПараметрЗначение
длина22600 мм
ширина650 мм
высота650 мм
вес4860 кг
серия3.407.1-175

СК 22 Стойки конические по серии 3.407.1-175.