ПЭ 4.12.4

Чертеж изделия:
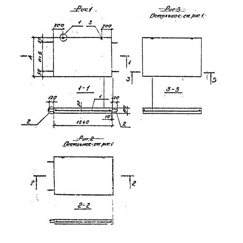
Характеристики изделия:
ПараметрЗначение
длина1240 мм
ширина100 мм
высота400 мм
вес120 кг
серия3.019.1-2

ПЭ 4.12.4 Панели экрана по серии 3.019.1-2.