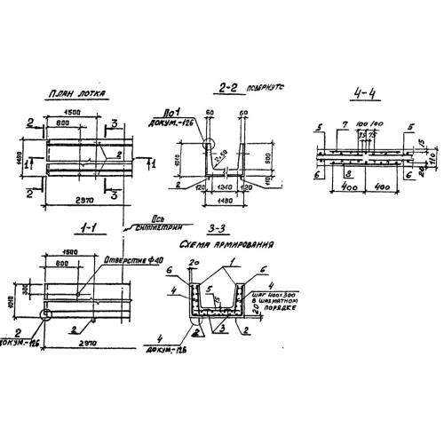
Л 12/2 лотки

Чертеж изделия:
Характеристики изделия:
ПараметрЗначение
длина2970 мм
ширина1480 мм
высота1010 мм
масса2400 кг
нормативный документСерия 3.006.1-2/87

Л 12/2 Лотки теплотрасс Серия 3.006.1-2/87.