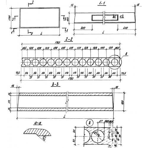
ПНО 51.18
Характеристики изделия:
| Параметр | Значение |
|---|---|
| длина | 5080 мм |
| ширина | 1790 мм |
| высота | 160 мм |
| вес | 2140 мм |
| серия | 1.141.1-39 |
Цена:
Рассчитать стоимостьПНО 51.18 Плиты настила облегченные многопустотные по серии 1.141.1-39.
| Параметр | Значение |
|---|---|
| длина | 5080 мм |
| ширина | 1790 мм |
| высота | 160 мм |
| вес | 2140 мм |
| серия | 1.141.1-39 |
ПНО 51.18 Плиты настила облегченные многопустотные по серии 1.141.1-39.
