ПК 60.12 Плиты перекрытия железобетонные многопустотные

Чертеж изделия:
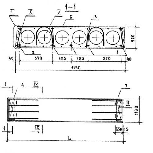
Характеристики изделия:
ПараметрЗначение
длина5980 мм
ширина1190 мм
высота220 мм
масса2100 кг
нормативный документСерия 1.141-1

ПК 60.12  Плиты перекрытия железобетонные многопустотные Серия 1.141-1.