ПК 57.18 Плиты перекрытия железобетонные многопустотные

Чертеж изделия:
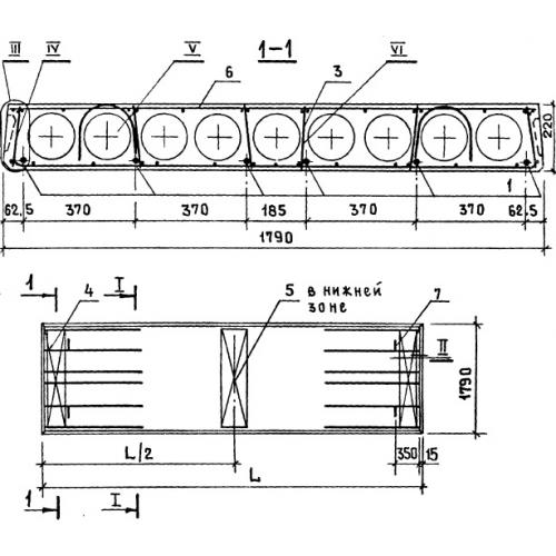
Характеристики изделия:
ПараметрЗначение
длина5680 мм
ширина1790 мм
высота220 мм
масса3025 кг
нормативный документСерия 1.141-1

ПК 57.18  Плиты перекрытия железобетонные многопустотные Серия 1.141-1.