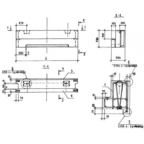
3БН 24.6.50

Чертеж изделия:
Характеристики изделия:
ПараметрЗначение
длина2380 мм
ширина500 мм
высота580 мм
вес790 кг
серия1.133.1-7

3БН 24.4.60 Блоки перемычечные по серии 1.133.1-7.