БСу 62.3

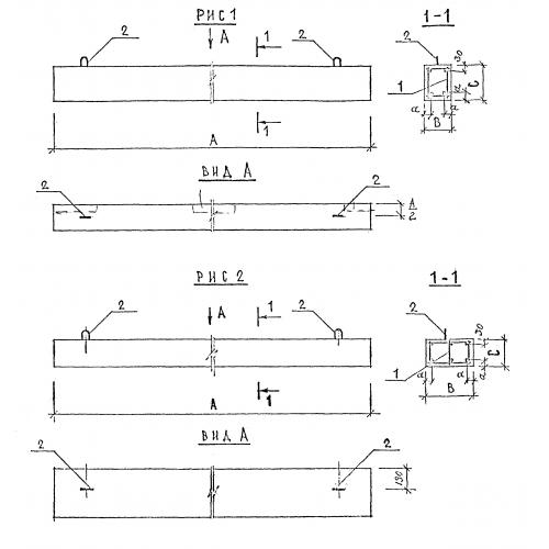
Чертеж изделия:
Характеристики изделия:
ПараметрЗначение
длина6200 мм
ширина180 мм
высота300 мм
вес837 кг
серия1.126 КР-1

БСу 62.3 Сборные балки по серии 1.126 КР-1.