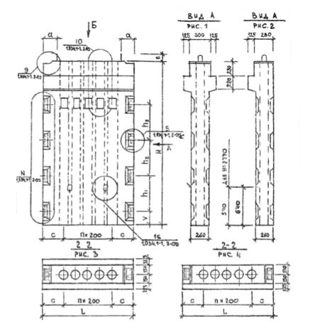
2ВД 26-36
Характеристики изделия:
| Параметр | Значение |
|---|---|
| длина | 2560 мм |
| ширина | 550 мм |
| высота | 3570 мм |
| масса | 4400 кг |
| нормативный документ | Серия 1.034.1-1 |
Цена:
Рассчитать стоимость2ВД 26-36 Вентиляционные блоки-диафрагмы жесткости двухконсольные (Серия 1.034.1-1).