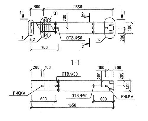
1КВ 24 колонны

Чертеж изделия:
Характеристики изделия:
ПараметрЗначение
длина1650 мм
ширина400 мм
высота400 мм
масса700 кг
нормативный документСерия 1.020-1/87

1КВ 24  Колонны верхние Серия 1.020-1/87.