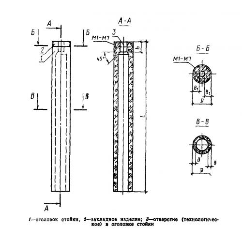
С 6-144-7К7
Характеристики изделия:
| Параметр | Значение |
|---|---|
| длина | 14400 мм |
| ширина | 600 мм |
| высота | 600 мм |
| масса | 4400 кг |
| нормативный документ | ГОСТ 23444-79 |
Цена:
Рассчитать стоимостьС 6-144-7 К7 Стойки железобетонные центрифугированные кольцевого сечения для производственных зданий и инженерных сооружений ГОСТ 23444-79.
