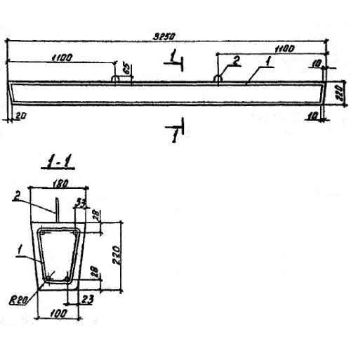
ПТ 33-2 приставки для деревянных опор пасынки
Характеристики изделия:
| Параметр | Значение |
|---|---|
| длина | 3250 мм |
| ширина | 180 мм |
| высота | 220 мм |
| масса | 250 кг |
| нормативный документ | ГОСТ 14295-75 |
Цена:
Рассчитать стоимостьГОСТ 14295-75
Железобетонные приставки (пасынки) используют в теплоэнергетической сфере при строительстве электроопор, как деревянных, так и железобетонных. Данные изделия используют для закрепления опор электропередач с напряжением 0,4; 6-10; 20 и 35кВт. Могут быть также использованы при обустройстве телефонных или телеграфных линий, а также при обустройстве радиофикационных сетей, спутниковых линий.
Марки приставок обозначаются буквами ПТ (приставка трапецеидальная) и двумя числами (через тире), из которых первое означает величину нормируемого расчетного изгибающего момента в направлении, перпендикулярном к оси линии связи и электропередачи (в тонно-метрах) на уровне заделки приставки в грунт, а второе – длину приставки в метрах.
